Product Summary
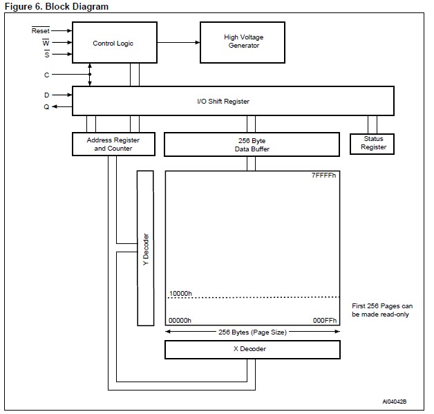
The M45PE40-VMW6TG is a 4Mbit (512K x 8 bit) Serial Paged Flash Memory accessed by a high speed SPI-compatible bus. The memory can be written or programmed 1 to 256 bytes at a time, using the Page Write or Page Program instruction. The Page Write instruction consists of an integrated Page Erase cycle followed by a Page Program cycle. The M45PE40-VMW6TG is organized as 8 sectors, each containing 256 pages. Each page is 256 bytes wide. It can be erased a page at a time, using the Page Erase instruction, or a sector at a time, using the Sector Erase instruction.
Parametrics
Absolute maximum ratings: (1)TSTG, Storage Temperature: –65 to 150 ℃; (2)TLEAD, Lead Temperature during Soldering: See note; (3)VIO, Input and Output Voltage (with respect to Ground): –0.6 to 4.0 V; (4)VCC, Supply Voltage: –0.6 to 4.0 V; (5)VESD, Electrostatic Discharge Voltage (Human Body model): –2000 to 2000 V.
Features
Features: (1)4Mbit of Page-Erasable Flash Memory; (2)Page Write (up to 256 Bytes) in 11ms (typical); (3)Page Program (up to 256 Bytes) in 1.2ms(typical); (4)Page Erase (256 Bytes) in 10ms (typical); (5)Sector Erase (512 Kbit); (6)2.7 to 3.6V Single Supply Voltage; (7)SPI Bus Compatible Serial Interface; (8)33MHz Clock Rate (maximum); (9)Deep Power-down Mode 1μA (typical); (10)Electronic Signature: JEDEC Standard Two-Byte Signature(4013h); (11)More than 100000 Write Cycles; (12)More than 20 Year Data Retention; (13)Packages: ECOPACK (RoHS compliant).
Diagrams

| Image | Part No | Mfg | Description | ![]() |
Pricing (USD) |
Quantity | ||||
|---|---|---|---|---|---|---|---|---|---|---|
![]() |
![]() M45PE40-VMW6TG |
![]() STMicroelectronics |
![]() Flash 4 Mbit low voltage Serial Flash |
![]() Data Sheet |
![]() Negotiable |
|
||||
| Image | Part No | Mfg | Description | ![]() |
Pricing (USD) |
Quantity | ||||
![]() |
![]() M45PE10 |
![]() Other |
![]() |
![]() Data Sheet |
![]() Negotiable |
|
||||
![]() |
![]() M45PE10-VMN6P |
![]() STMicroelectronics |
![]() Flash SERIAL FLASH 1 Mbit Datas |
![]() Data Sheet |
![]() Negotiable |
|
||||
![]() |
![]() M45PE10-VMN6TP |
![]() STMicroelectronics |
![]() Flash SERIAL FLASH 1 Mbit Datas |
![]() Data Sheet |
![]() Negotiable |
|
||||
![]() |
![]() M45PE10-VMP6G |
![]() STMicroelectronics |
![]() Flash 1 Mbit Lo Vltg Page Erasable Seral Flash |
![]() Data Sheet |
![]() Negotiable |
|
||||
![]() |
![]() M45PE10-VMP6TG |
![]() STMicroelectronics |
![]() Flash 1 Mbit Lo Vltg Page Erasable Seral Flash |
![]() Data Sheet |
![]() Negotiable |
|
||||
![]() |
![]() M45PE16-VMP6G |
![]() STMicroelectronics |
![]() Flash 16 Mbit low-voltage |
![]() Data Sheet |
![]() Negotiable |
|
||||
(China (Mainland))








